COMPANY HEADER
Request Information
  • Variable Capacitance Accelerometer
  • Differential Mode
  • DC Response
  • Polytetrafluoroethylene (PTFE) Cable Jacket
Unit of Measure

Specifications

Type

N/A Variable Capacitance

Performance

Accelerometer Input Range (±)

N/A 200 g1,962 m/s²

Minimum Frequency Response

N/A 0 to 1,750 Hz

Frequency Response Tolerance

N/A ±3 dB

Sensitivity Differential

N/A 20 mV/g2.0 mV/m/s²

Sensitivity Differential Tolerance (±)

N/A 10 %

Note for Sensitivity Differential

N/A Single ended sensitivity is half of values shown.

Typical Root-Mean-Square (RMS) Differential Output Noise

N/A 200 µg rms/√ Hz1,962 µm/s² rms/√ Hz

Maximum Full Scale (F.S.) Non-Linearity (±)

N/A 0.5 %

Note for Maximum Full Scale (F.S.) Non-Linearity (±)

N/A -90% to +90% of Full Scale

Maximum Transverse Sensitivity

N/A 3 %

Maximum Scale Factor Calibration Error

N/A 1 %

Zero Measured Output (±)

N/A 50 mV

Physical

Maximum Weight

N/A 0.5 oz13 g

Cable Type

N/A Integral

Number of Thru Hole for Mounting Provision

N/A 2

Diameter of Thru Hole Mounting Provision

N/A 0.13 in3.3 mm

Material

N/A Anodized Aluminum

Environmental

Maximum Peak Mechanical Shock

N/A 5000 g49050 m/s²

Maximum Bias Temperature Shift of Span

N/A 111 ppm/ºF200 ppm/ºC

Note for Maximum Bias Temperature Shift of Span

N/A Over the rated temperature range.

Maximum Bias Calibration Error of span

N/A 0.5 %

Operating Temperature Range

N/A -67 to +257 ºF-55 to +125 ºC

Scale Factor Temperature Shift

N/A -111 to 111 ppm/ºF-200 to 200 ppm/ºC

Note for Scale Factor Temperature Shift

N/A Over the rated temperature range.

Environmental Seal

N/A Epoxy

Electrical

Direct Current (DC) Typical Output Common Mode Voltage

N/A 2.45 V

Nominal Output Impedance

N/A 90 O

Direct Current (DC) Operating Voltage

N/A +5 to +28 V

Operating Direct Current (DC) (AOP & AON Open)

N/A 7 to 10 mA

Power Supply Rejection Ratio

N/A > 65 dB

Case Isolation

N/A 30 MO

Supplied Accessories

Supplied Accessories

N/A
  1. Accredited calibration certificate (ISO 17025)
  2. Two mounting screws model # 6868, 4-40 x 0.50"
  3. Two mounting screws model # 6688, M3x0.5 x 12mm

Note

Note

N/A In the interest of constant product improvement, we reserve the right to change specifications without notice.

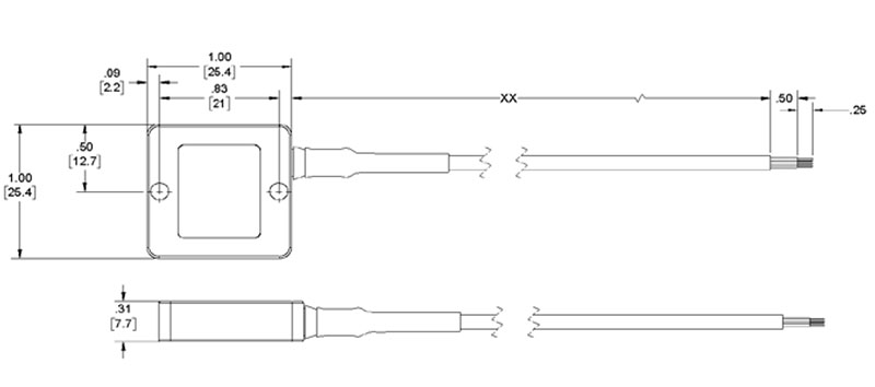
Units on the line drawing are in inches, dimensions in brackets [] are in millimeters.